Install ECT sensor 1 (A) with a new O-ring (B).

Install the water bypass hose (C).
Remove all of the old liquid gasket from the water outlet mating surfaces, the bolts, and the bolt holes.
Clean and dry the water outlet mating surfaces.
Apply liquid gasket (P/N 08717-0004, 08718-0003, 08718-0004, or 08718-0009) to the cylinder head mating surface of the water outlet and to the inside edge of the threaded bolts holes. Install the component within 5 minutes of applying the liquid gasket.
NOTE:
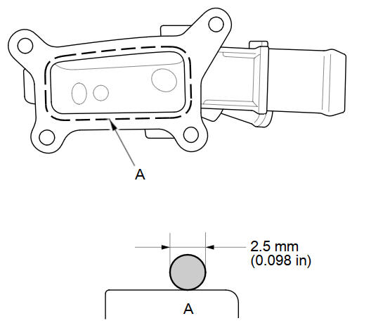
Apply a 2.5 mm (0.098 in) diameter dead of liquid gasket along the broken line (A).
If you apply liquid gasket P/N 08718-0012, the component must be installed within 4 minutes.
If too much time has passed after applying the liquid gasket, remove the old liquid gasket and residue, then reapply new liquid gasket.

Install the water outlet, then connect the ECT sensor 1 connector (A).
NOTE:
After assembly, wait at least 30 minutes before filling the engine with coolant.
Do not run the engine for at least 3 hours after installing the water outlet.

Connect the upper radiator hose (A) and the heater hose (B).

Install the harness holder (A) to the bracket, then tighten the harness holder mounting bolt (B) and the heater hose clamp bracket mounting bolt (C).

Connect the water bypass hose (D).
Install the air cleaner.
Refill the radiator with engine coolant, and bleed the air from the cooling system.
Clean up any spilled engine coolant.
Guidance Menu
MAP MENU (on map)
►Guidance Menu
Display the guidance points and freeway exits for your route, and set the
display
mode for the map and guidance screens.
Select an item.
The following ...
A/T System Description - Lock-Up System (A/T)
Lock-up SystemThe lock-up mechanism of the torque converter
clutch operates in all five gears in D, in 3rd gear in D3, and 3rd and 4th
gears in S with the automatic shift mode. The pressurize ...
If the Malfunction Indicator Lam Comes On or Blinks
■ Reasons for indicator lamp to come on or blink
• Comes on when there is a problem with the engine emissions control
system, or the fuel fill cap is missing, or loose.
• Blinks when en ...