Remove the ignition coils and the spark plugs.
Inspect the electrodes and the ceramic insulator:
Burned or worn electrodes may be caused by these conditions:
Advanced ignition timing
Loose spark plug
Plug heat range too hot
Insufficient cooling
Fouled plugs may be caused by these conditions:
Retarded ignition timing
Oil in combustion chamber
Incorrect spark plug gap
Plug heat range too cold
Excessive idling/low speed running
Clogged air cleaner element
Deteriorated ignition coils

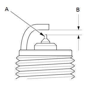
Replace the plug at the specified interval, or if the center electrode (A) is rounded, or if the spark plug gap (B) is out of specification, or if the spark plug electrode is dirty or contaminated. Use only the spark plugs listed.
NOTE:
Do not adjust the gap of iridium tip plugs.
Do not use a plug cleaner.
Spark Plugs
|
NGK: |
IZFR6K13 |
|
DENSO: |
SKJ20DR-M13 |
Electrode Gap
|
Standard (New): |
1.2пјЌ1.3 mm (0.047пјЌ0.051 in) |

Install the spark plugs and the ignition coils.
Steering Gearbox Removal and Installation
Special Tools Required
Ball Joint Thread Protector, 14 mm 071AF-S3VA000
Ball Joint Thread Protector, 10 mm 07AAF-SECA120
Universal Lifting Eyelet 07AAK-SNAA120
1.8 Support Bolt 07AAK-SNAA500 ...
Dust and Pollen Filter
On models with A/C
This filter removes the dust and pollen that is brought in fromthe outside through
the heating and cooling system.
Have your dealer replace the filter when this service is indic ...
Protecting Adults and Teens
Introduction
The following pages provide instructions on how to properly protect the driver,
adult passengers, and teenage children who are large enough and mature enough to
drive or ride in the ...