Exploded View

Special Tools Required
NOTE: Refer to the Exploded View, as needed, during this procedure.
Clean the disassembled parts with solvent, and dry them with compressed air.
NOTE: Do not wash the rubber parts with solvent.
Press a new intermediate shaft bearing (A) into the bearing support (B) using the 52 x 55 mm bearing driver attachment (C), the 15 x 135L driver handle (D), and a press.

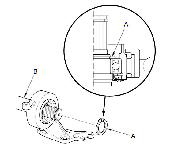
Install the internal snap ring (A) into the groove (B) of the bearing support.

Press the intermediate shaft (A) into the shaft bearing (B) using the 35 mm inner bearing driver attachment (C) and a press.

Install the external snap ring (A) in the groove of the intermediate shaft (B).

Install a new outer seal (A) into the bearing support (B) using the 65 mm oil seal driver (C) and a press. Press the seal until it is 0В±0.2 mm (0В±0.008 in) below the surface of the bearing support end.

Rear Defogger/Heated Door Mirror* Button
Press the rear defogger and heated door
mirror button to defog the rear window and
mirrors when the ignition switch is in ON
.
NOTICE
When cleaning the inside of the rear window, be
careful no ...
Transmission Side - Release Bearing Installation
Apply high temp urea grease (P/N 08798-9002) to the release fork (A), the
release fork bolt (B), the release bearing (C), and the release bearing
guide (D) in the shaded areas, then set th ...
Dashboard Center Lower Trim Removal/Installation
Special Tools Required
KTC Trim Tool Set SOJATP2014
*Available through the Honda Tool and Equipment Program; call
888-424-6857
NOTE:
Take care not to scratch the dashboard or its ...